Valvola a sfera in PVC
Panoramica del prodotto
Il Valvola a sfera in PVC con valvola Vcore è una valvola di intercettazione leggera e resistente alla corrosione progettata per un controllo efficiente del flusso nell'approvvigionamento idrico, nell'irrigazione, nel trattamento dell'acqua e in altri sistemi di tubazioni non industriali. Grazie al suo fattore di forma compatto e al funzionamento fluido a un quarto di giro, questa valvola offre funzionalità on/off affidabili laddove lo spazio è limitato o le installazioni richiedono semplicità e prestazioni di lunga durata. Prodotti comparabili sul mercato sono ampiamente utilizzati nelle condutture residenziali e commerciali, tuttavia Valvola Vcore La versione va oltre con materiali raffinati, design ottimizzato della guarnizione e connessioni facili da installare.
Realizzata in materiale PVC di alta qualità, questa valvola a sfera compatta è progettata per resistere ad ambienti corrosivi, resistere agli attacchi chimici e mantenere prestazioni stabili per tutto il suo ciclo di vita. Che tu stia lavorando su un sistema di irrigazione del cortile o su un grande progetto idraulico, questa valvola offre un valore eccezionale e un controllo affidabile.
Caratteristiche e vantaggi principali
🔹 Costruzione in PVC resistente
Realizzata in materiale PVC di alta qualità, questa valvola a sfera compatta offre un'eccellente resistenza alla corrosione, maneggevolezza e stabilità ai raggi UV per uso esterno. Il PVC funziona in modo affidabile anche in ambienti in cui le valvole metalliche si corroderebbero o richiederebbero una manutenzione frequente
🔄 Funzionamento fluido a un quarto di giro
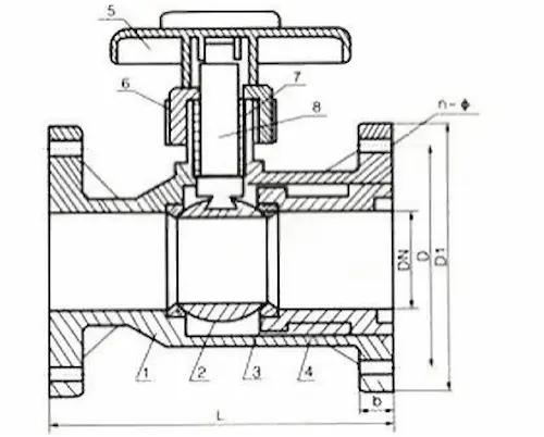
La valvola è dotata di un vero meccanismo a quarto di giro che consente l'apertura o la chiusura rapida del flusso con il minimo sforzo. Questo funzionamento intuitivo garantisce che gli utenti possano controllare il flusso del fluido con sicurezza e velocità.
🧰 Design completo delle porte
Progettata per il massimo flusso, la struttura a porta completa riduce al minimo la caduta di pressione attraverso la valvola, mantenendo le prestazioni idrauliche e riducendo la perdita di energia.
🌡️ Sigillatura affidabile
Il materiale delle sedi EPDM fornisce una tenuta duratura e un'eccellente resistenza chimica, garantendo una chiusura ermetica e una durata operativa prolungata con pressioni idrauliche tipiche fino a ~150 PSI.
⚙️ Opzioni di connessione flessibili
Disponibile in entrambi presa ed estremità filettate, questa valvola a sfera compatta può essere saldata con solvente o avvitata nelle tubazioni, offrendo agli installatori flessibilità in base alle esigenze del progetto.
📏 Ampia Disponibilità di Misure
Da 1/2″ fino a 4″, queste valvole coprono un'ampia gamma di applicazioni: dagli impianti idraulici domestici e l'irrigazione del giardino ai sistemi delle acque reflue e al trattamento dei prodotti chimici.
Specifiche tecniche
| Parametro | Dettagli |
|---|---|
| Nome del prodotto | Valvola a sfera in PVC |
| Materiale del corpo | PVC di alta qualità |
| Gestire il materiale | Plastica/PVC |
| Materiale della palla | PVC |
| Materiale del sedile | EPDM |
| Tipo di connessione | Presa/filettatura BSP |
| Gamma di dimensioni | 1/2″-4″ |
| Pressione di esercizio | Fino a 150PSI |
| Temp. operativa | ~-1°C a 55°C (standard) |
| Supporti applicativi | Acqua, Aria, Fluidi Non Aggressivi |
| Garanzia | Standard di 12 mesi |
Questa specifica è progettata per offrire una guida chiara a ingegneri, installatori e specialisti dell'approvvigionamento per il dimensionamento e la selezione delle valvole per sistemi specifici.

Applicazioni professionali
La valvola a sfera in PVC Vcore Valve è adatta a una varietà di attività di controllo dei fluidi, tra cui:
-
Impianti idraulici residenziali: Ideale per linee idriche domestiche, sistemi di raccolta dell'acqua piovana e collettori di tubi da giardino.
-
Irrigazione e Agricoltura: Perfetto per sistemi a goccia, irrigatori e reti di irrigazione che richiedono un funzionamento esente da corrosione.
-
Trattamento dell'acqua e piscine: Utilizzato nelle linee dell'acqua della piscina, nei sistemi di filtraggio e nei circuiti di controllo degli effluenti.
-
Linee di acque reflue e settiche: Gestisce il controllo del flusso in sistemi esposti a fluidi corrosivi o misti.
-
Circuiti HVAC e di raffreddamento: Valvola in PVC leggero ideale per circuiti di acqua refrigerata e zone di controllo bypass.

Perché scegliere la valvola a sfera in PVC Vcore Valve
A Valvola Vcore, comprendiamo le esigenze reali dei sistemi di controllo dei fluidi: dai materiali che fanno la differenza alle caratteristiche di progettazione che riducono i tempi di installazione e la manutenzione a lungo termine. La nostra valvola a sfera in PVC è progettata per essere entrambe le cose conveniente e affidabile, offrendo prestazioni superiori laddove le tradizionali valvole metalliche potrebbero non essere ideali.
Rispetto alle valvole a sfera compatte generiche, la versione della valvola Vcore beneficia di un design ergonomico ottimizzato, una maggiore longevità della tenuta e una più ampia flessibilità applicativa, garantendo che il sistema funzioni in modo fluido ed efficiente per anni. Il nostro obiettivo è lo sviluppo del prodotto durata, facilità di installazione e prestazioni costanti, offrendo una valvola di cui ci si può fidare, progetto dopo progetto.