Краткий обзор
Паровые системы требуют от клапанов гораздо большего, чем стандартные водопроводные или газовые линии. Высокая температура, колебания давления, термический удар и конденсат создают чрезвычайную нагрузку на компоненты клапана. В Клапан Vcore, мы каждый день работаем с паровыми клапанами на электростанциях, в химических перерабатывающих предприятиях и в сетях отопления, вентиляции и кондиционирования. В этом руководстве объясняется основные типы клапанов, используемых в паровых системах, как они работают, где они работают лучше всего и как выбрать правильный клапан для обеспечения долгосрочной безопасности и эффективности.
Начальный сценарий: знакомая проблема с паровой системой
«Почему этот клапан каждый год выходит из строя?»
Этот вопрос мы часто слышим от инженеров предприятий. В большинстве случаев причиной неисправности является не сам пар, а неправильный тип клапана установлен в неправильном месте. Steam не прощает упрощений дизайна.
Болевые точки пользователя
1. Высокая частота отказов в паропроводах
Стандартные клапаны, не предназначенные для пара, часто страдают от эрозии седла, утечек или заклинивания штока.
2. Путаница между регулирующими и запорными клапанами
Многие покупатели полагают, что любой клапан может регулировать поток пара — это приводит к нестабильной работе и потерям энергии.
3. Риски безопасности под давлением
Неправильный выбор клапана может привести к избыточному давлению, гидравлическому удару или катастрофическому повреждению оборудования.
Решения и рекомендации экспертов
1. Используйте только конструкции клапанов, рассчитанные на пар.
Для паровых применений требуются материалы, уплотнительные конструкции и допуски, специально разработанные для работы при высоких температурах.
2. Раздельные функции изоляции, управления и защиты.
Каждая функция в паровой системе должна выполняться клапаном определенного типа.
3. Выбирайте проверенные производственные стандарты.
В Клапан VcoreПеред поставкой все паровые клапаны проходят испытания под давлением, моделирование термоциклирования и проверку материалов.
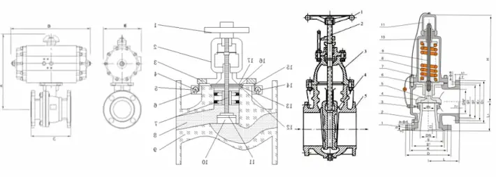
Основные типы клапанов, используемых в системах пара
Паровые системы используют несколько типов клапанов, каждый из которых выполняет определенную роль.
Паровой шаровой клапан
Предназначен для дросселирования и точного контроля потока. Конструкция диска и седла обеспечивает стабильное регулирование под давлением.
Паровой затвор
Используется только для полного открытия или полного закрытия. Обеспечивает минимальный перепад давления при полностью открытом положении.
Паровой шаровой клапан
Подходит для быстрой изоляции. Высокопроизводительные шаровые краны с металлическим седлом эффективно справляются с насыщенным и перегретым паром.
Паровой обратный клапан
Предотвращает обратный поток и защищает такое оборудование, как котлы и турбины.
Паровой регулирующий клапан
Автоматически регулирует поток пара в зависимости от сигналов температуры или давления.
Паровой предохранительный клапан
Критическое защитное устройство, которое сбрасывает избыточное давление для предотвращения сбоя системы.

Практические примеры от Vcore Valve
Случай 1: Модернизация изоляции электростанции Замена стандартных задвижек на паровые задвижки из кованой стали снизила количество случаев утечек на 70%.
Случай 2: технологическая линия нагрева
Переход с шаровых кранов на шаровые регулирующие клапаны улучшил температурную стабильность и снизил потребление пара.
Данные и техническое сравнение
| Тип клапана | Основная функция | Температурная устойчивость | Контроль давления |
|---|---|---|---|
| Паровой шаровой клапан | Регулирование | Отлично | Высокий |
| Паровой затвор | Изоляция | Отлично | Низкий |
| Паровой шаровой клапан | Быстрое отключение | Хорошо–Отлично | Средний |
| Паровой обратный клапан | Предотвращение обратного потока | Отлично | Автоматический |
| Паровой предохранительный клапан | Сброс давления | Отлично | Чрезвычайная ситуация |


Тенденции отрасли и аналитика рынка
-
Растущий спрос на кованый стальные паровые клапаны
-
Более широкое использование шаровые краны с металлическим седлом в высокотемпературной эксплуатации
-
Сильное предпочтение Паровые клапаны, сертифицированные по EN, ASME и ISO
-
Нормативы по энергоэффективности повышают точность регулирования пара
Советы по использованию и выбору
-
Избегайте дросселирования с помощью задвижек
-
Установите обратные клапаны возле котлов и насосов.
-
Используйте запорные или регулирующие клапаны для регулирования расхода.
-
Внимательно проверьте номинальные значения давления и температуры.
-
Всегда учитывайте конденсат и тепловое расширение.
Заключение
Пар является одной из самых требовательных сред в промышленных системах, и выбор клапана напрямую влияет на безопасность, эффективность и эксплуатационные расходы. Понимание типы клапанов, используемых в паровых системах позволяет инженерам и покупателям разрабатывать долговечные системы, а не системы, которые постоянно требуют ремонта.
В Клапан VcoreМы проектируем паровые клапаны для реальных условий, а не для каталожных предположений.
Часто задаваемые вопросы
В1: Какой клапан лучше всего подходит для контроля потока пара?
Проходные клапаны и регулирующие клапаны лучше всего подходят для точного регулирования пара.
В2: Можно ли использовать шаровые краны для пара?
Да, при условии, что они рассчитаны на пар и используют металлические сиденья.
В3: Почему задвижки не используются для регулирования пара?
Частичное открытие приводит к эрозии седла и нестабильному потоку.
Вопрос 4: Обязательны ли предохранительные клапаны в паровых системах?
Да. Они имеют решающее значение для защиты от давления и соблюдения требований.
В5: Как часто следует проверять паровые клапаны?
Частота проверок зависит от серьезности эксплуатации, но рекомендуется проводить ежегодные проверки.
